| Availability: | |
|---|---|
| Quantity: | |
This is the description of Hydraulic Pressure Control Valve
With advanced equipment and qualified workers, Hislohydraulic.com is well-known as one of the professional China one wire braid hose manufacturers. We have professional staff specialized in manufacturing high quality hydraulics in our factory. Welcome to wholesale high precision one wire braid hose at cheap price with us.
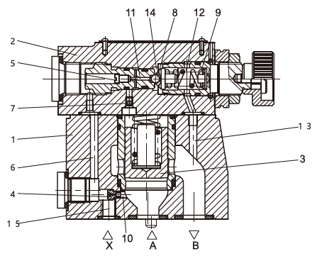
Pressure relief valve, pilot operated, types DB/DBW. .. L5X
The types DB and DBW pressure valves are pilot operated pressure relief valves, used to limit (DB) or limit and unload (DBW) the pressure via solenoid operating. The pressure relief valves consist mainly of main valve (1) with main spool cartridge (3) and pilot operated valve (2) with pressure adjustment elements.
Type DB pressure relief valves
The pressure of channel A acts on the main spool (3), meanwhile, pressure is applied via control line (6) and (7) with orifice (4) and (5) on the spring loaded side of the main spool (3) and on the ball (8) in the pilot operated valve (2). If the pressure in channel A rises excess the setting value at the spring (9), the ball (8) opens against the spring (9). As for the internal control forms, signal is given by control oil (10) and (6) supplied by channel A. The oil from the spring loaded side of the main spool (3), via control line (7), orifice (11), and ball (8), then flows into spring chamber (12). About internal drain - type DB···L5X···Y, oil flows via control line (14) into the tank. In virtue of the orifice (4) and (5), the pressure drop arises at the main spool (3), and the connection from port A to port B is open while the setting operation pressure maintain invariable. The pressure relief valve may unload or shift the different pressure (second rated pressure value) in virtue of external control port X (15).
Pressure relief valve type DBW
The basis function of pressure relief valve type DBW is the same with pressure relief valve type DB, the difference is that valve type DBW operates unloading via a built-on directional valve (16)
We are excellent Chinese manufacturers. Our products, such as One Wire Braid Hose,hydraulic control valves suppliers,Shunt manufacturer,hydraulic valve suppliers,hydraulic valve for sale, are of excellent quality and affordable. Looking forward to your inquiry.
This is the description of Hydraulic Pressure Control Valve
With advanced equipment and qualified workers, Hislohydraulic.com is well-known as one of the professional China one wire braid hose manufacturers. We have professional staff specialized in manufacturing high quality hydraulics in our factory. Welcome to wholesale high precision one wire braid hose at cheap price with us.
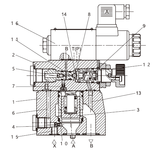
Pressure relief valve, pilot operated, types DB/DBW. .. L5X
The types DB and DBW pressure valves are pilot operated pressure relief valves, used to limit (DB) or limit and unload (DBW) the pressure via solenoid operating. The pressure relief valves consist mainly of main valve (1) with main spool cartridge (3) and pilot operated valve (2) with pressure adjustment elements.
Type DB pressure relief valves
The pressure of channel A acts on the main spool (3), meanwhile, pressure is applied via control line (6) and (7) with orifice (4) and (5) on the spring loaded side of the main spool (3) and on the ball (8) in the pilot operated valve (2). If the pressure in channel A rises excess the setting value at the spring (9), the ball (8) opens against the spring (9). As for the internal control forms, signal is given by control oil (10) and (6) supplied by channel A. The oil from the spring loaded side of the main spool (3), via control line (7), orifice (11), and ball (8), then flows into spring chamber (12). About internal drain - type DB···L5X···Y, oil flows via control line (14) into the tank. In virtue of the orifice (4) and (5), the pressure drop arises at the main spool (3), and the connection from port A to port B is open while the setting operation pressure maintain invariable. The pressure relief valve may unload or shift the different pressure (second rated pressure value) in virtue of external control port X (15).
Pressure relief valve type DBW
The basis function of pressure relief valve type DBW is the same with pressure relief valve type DB, the difference is that valve type DBW operates unloading via a built-on directional valve (16)
We are excellent Chinese manufacturers. Our products, such as One Wire Braid Hose,hydraulic control valves suppliers,Shunt manufacturer,hydraulic valve suppliers,hydraulic valve for sale, are of excellent quality and affordable. Looking forward to your inquiry.
